Scheinbar plant Sony noch etwas Bemerkenswertes mit der PS5, das sie bislang noch nicht enthüllt haben. Wird die neue Konsole etwa mit der PSP und der PS Vita kompatibel sein? Ein neues Patent lässt auf solch eine Verbindung schließen.
[inline_news id=255042]
PSP und PS Vita mit PS5 verbinden?
Über ein Jahrzehnt wurde die PSP von Sony unterstützt. Insgesamt konnten beachtliche 82 Millionen Handheld-Konsolen verkauft werden. Die PS Vita kam hingegen lediglich auf 16 Millionen Geräte. Und obgleich Sony nie an den Erfolg der Nintendo-Handhelds herankam, bleibt insbesondere die Verkaufszahl der PSP es eine beachtliche Zahl.
Falls ihr noch eine PSP besitzt, könnte diese bald wieder einen Zweck erfüllen. Ein neu entdecktes Patent lässt darauf schließen, dass Sony ein kleines PSP-Revival mit der PS5 plant.
Magischen Merch entdecken! ✨
Zauberstäbe, Deko & Sammlerstücke – jetzt auf Zauberkram.de. 🧙♂️
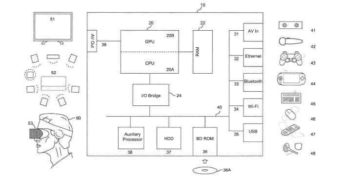
Das Patent, das am 6. Februar 2020 beantragt und am 20. August 2020 veröffentlicht wurde, enthält einen spannenden Eintrag. Es bezieht sich auf die PS5 und kompatible Peripherie. Neben der PlayStation VR, der PlayStation Kamera und den Eingabegeräten wie dem DualShock 4 Wireless Controller oder dem PlayStation Move-Controller wird es einmal mehr die Möglichkeit geben, Maus und Tastatur oder ein Bluetooth-Headset anzuschließen – außerdem können wir ganz offensichtlich die PSP mit der PS5 verbinden.
Das Patent deutet an dieser Stelle auf die PSP und PlayStation Vita. Beide Handheld-Konsolen können wohl in irgendeiner Weise mit der PS5 verbunden und genutzt werden.

Es liegt nahe, dass die Games der PS5 auf der PS Vita in einer Art Handheld-Modus gespielt werden können. Das ging beispielsweise auch mit der PS4, wo der Handheld im Grunde als Monitor für das jeweilige Spiel diente.
Aber ob Remote-Play wirklich der Plan ist, sei erst einmal dahingestellt. Es ist sogar eher unwahrscheinlich, da wir hier die Features des DualSense nicht verwenden könnten. Vielleicht kann man aber PS4-Spiele via Remote-Play auf der PS Vita über die PS5 spielen? Auf dem Papier etwas verwirrend, aber die Logik erschließt sich, es ist technisch sicherlich machbar.
Insgesamt erhoffen wir uns bis auf Weiteres jedoch nicht allzu viel von diesem Feature. Dennoch wäre eine offizielle Bestätigung seitens Sony spannend. Wenn es so weit kommt, erfahrt ihr es auf PlayCentral.de. Mehr zur Abwärtskompatibilität der PS5 erfahrt ihr hier:
[inline_news id=294085]



