
Aus einem neuen Patent von Sony geht hervor, dass passend zur PlayStation 5 auch eine neue Generation von VR-Controllern erscheinen könnte.
Wie die Webseite Gearnuke berichtet, hat Sony ein neues Patent für einen VR-Controller veröffentlicht, der für die nächste Generation eines PlayStation VR-Geräts für die PlayStation 5 vorgesehen ist.
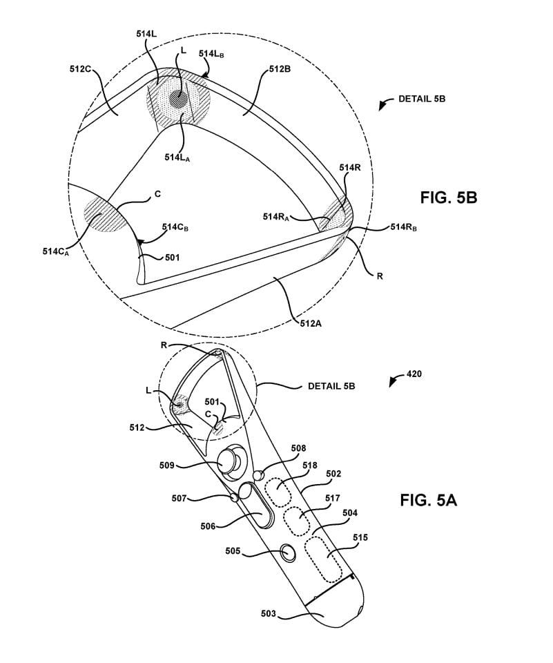
Das Patent trägt den Titel „CONTROLLER HIGHING LIGHTS LAY OF THE CONTROLLER“ und ist auf Sony Interactive Entertainment Japan registriert worden. Richtige Bilder gibt es von dem Controller zwar nicht zu sehen, dafür aber Konzeptgrafiken. Der VR-Controller sieht darauf aus wie eine Weiterentwicklung des PS Move-Controllers, mit beleuchteten Schleifen anstelle des Balls sowie Analogsticks.
Magischen Merch entdecken! ✨
Zauberstäbe, Deko & Sammlerstücke – jetzt auf Zauberkram.de. 🧙♂️
Obwohl die aktuelle Version von PSVR den Move-Controller unterstützt, scheint der neue Controller von Grund auf für VR konzipiert und genau für diesen Verwendungszweck ausgelegt zu sein.
Der PlayStation Move-Controller ist bereits 2010 für die PlayStation 3 erschienen. Es macht also durchaus Sinn, dass für eine neue Konsolengenration wie der PS5 auch gleich eine neue Generation von VR-Controllern veröffentlicht wird.
In den letzten Wochen gab es mehrere Hinweise auf eine bevorstehende Ankündigung der neuen Sony-Konsole. Anscheinend könnte die PS5 auf der diesjährigen PlayStation Devcom Entwiocklern vorgestellt und nähere technische Details präsentiert werden.
Vorbereitung für die Marketing-Kampagne
Erst vor kurzem ist bei LinkedIn eine Stellenanzeige für einen Senior Product Manager für "Campaign Management" geschaltet worden. Offenbar bereitet sich Sony bereits auf die Marketing-Kampagne für die PS5 vor.
[inline_news_apexx id=75809]
Zeit für die Next-Generation-Hardware
Die PlayStation 4 ist ein voller Erfolg und jüngst hat die Sony-Obrigkeit diesen Erfolg kommentiert. Kenichiro Yoshida spricht von der Notwendigkeit einer neuen Konsolen-Generation, also womöglich von einer PlayStation 5.
[inline_news_apexx id=75744]






